IT之家 4月6日消息,外媒Roadtovr联系任天堂,确认任天堂在2019年推出的Labo VR纸板头显配件不兼容Switch 2游戏机。

据悉,由于Switch 2游戏机尺寸相对于初代Switch有所调整,因此无法装入Labo VR纸板头显配件,不过这可以通过魔改/重新开模自制相应头显配件来解决。
但目前尚不知悉任天堂是否会对Labo VR配套的游戏进行限制,例如使其直接无法在Switch 2平台上运行,考虑到任天堂已宣布“Labo VR配件不支持Switch 2”,因此该公司很有可能在相应游戏机上施以限制,具体还需实机到手专门进行测试。
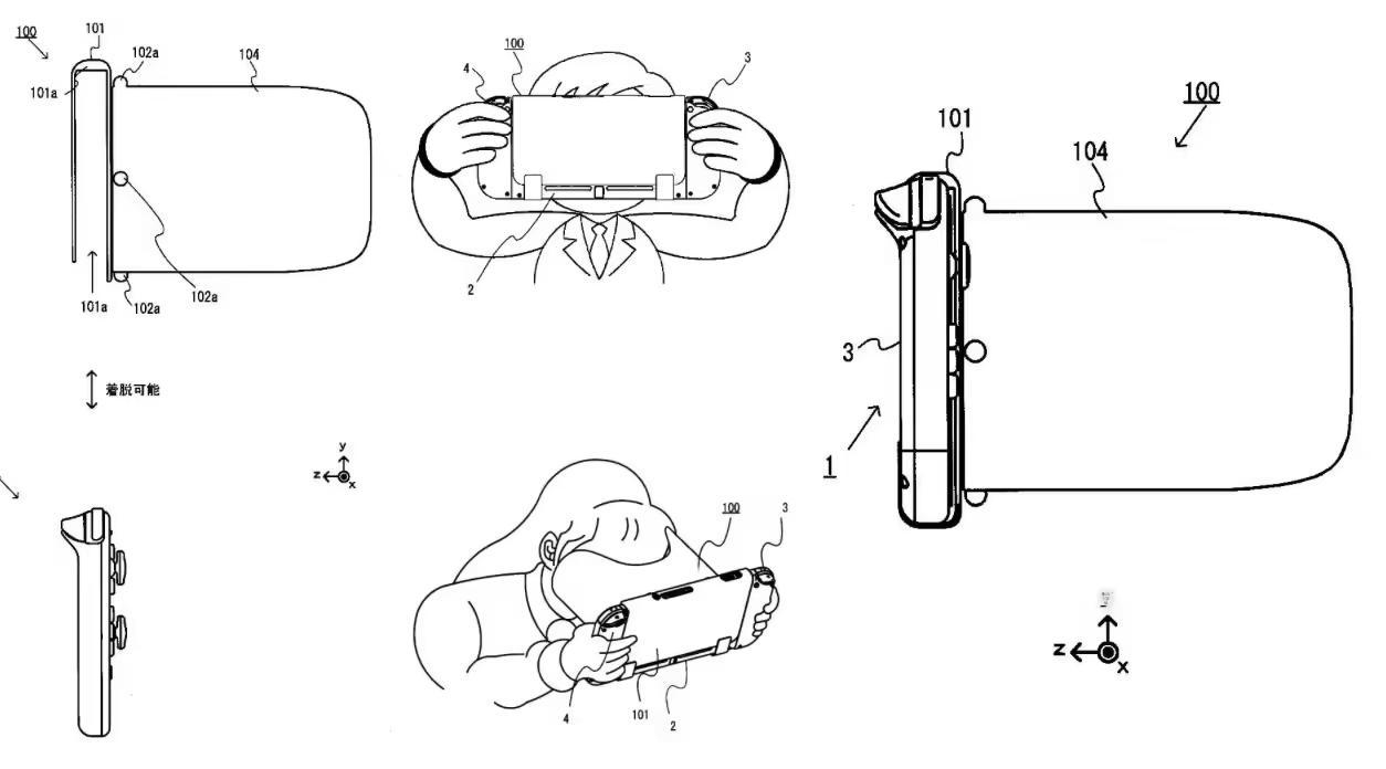
IT之家同时注意到,任天堂在2024年公开的一项专利显示该公司很有可能推出第二代Labo VR纸板头显,这意味着Switch 2不兼容现款Labo VR纸板头显的原因可能是“任天堂计划推出新的VR头显配件”。

文章来源于互联网:凤凰网-任天堂确认Switch 2游戏机不兼容Labo VR纸板头显配件
