【CNMO科技消息】据CNMO了解,苹果近日申请了一项新专利,提出通过传感器技术实现AirPods的“无声指令”功能。该技术利用类似Face ID的传感器,通过检测用户嘴唇和面部微小动作,实现无需语音或手势的交互方式。若专利通过,AirPods将可能支持“微笑”“低语”等动作触发功能,进一步拓展人机交互边界。

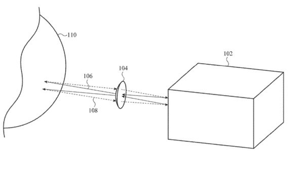
苹果的专利文件显示,其核心创新点在于“自混合干涉法”(Self-Mixing Interferometry),通过垂直腔面发射激光器(VCSEL)与传感器组合,捕捉皮肤或肌肉的细微振动。目前,当用户点头或摇头时,AirPods Pro已能识别。而新方案则可检测更小的动作,如微笑或低语。


专利进一步指出,该技术可应用于耳戴式AirPods(而非AirPods Max),通过将激光光束对准耳道内部,分析因头部或皮肤运动引起的光线变化。这种“无声指令”功能将突破现有耳机依赖语音或物理按键的限制。例如,用户可仅通过“口型”完成“切歌”操作,或在无法发声时(如紧急情况)通过面部动作完成指令。
苹果强调,该技术的两大核心价值在于:
身份认证:通过面部或嘴唇动作验证用户身份,避免他人误触设备。
场景适应性:在嘈杂环境中或用户无法发声时(如医疗急救),仍能通过非语言交互完成操作。
苹果此前已探索手势识别技术超五年,2024年首次实现AirPods Pro的点头/摇头检测。此次专利延续研究方向,但将检测精度提升至毫米级,甚至能识别肌肉微动。虽然苹果未公开具体发布时间,但该技术若落地,将重新定义耳机交互方式。
文章来源于互联网:凤凰网-苹果黑科技新专利曝光:AirPods或可读唇识别无声指令
